Se filtró un boceto de lo que será el iWatch de Apple

Tecno

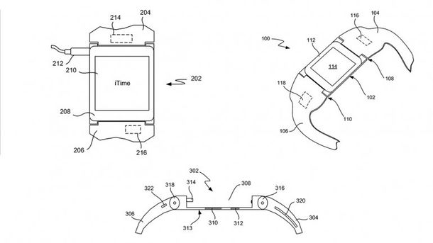
El reloj inteligente se dejó ver en un boceto adjunto a un pedido de licencia registrado en Estados Unidos. Su formato sería similar al iPod Nano de sexta generación.

Las filtraciones de los futuros dispositivos que están próximos a salir al mercado ya son un clásico en el mundo de la tecnología. En esta oportunidad, la "víctima" fue el iWatch de Apple, del cual algunos de sus detalles se pueden observar en una solicitud de patente registrada en Estados Unidos.

Según se deja desprender en un boceto adjunto a la solicitud, el iWatch recuerda al iPod Nano de sexta generación, el cual también podía usarse como reloj pero con algunas carencias en relación a los relojes inteligentes que se destacan actualmente en el mercado.

El reloj inteligente iWatch podrá ser conectado vía bluetooth solamente a los productos Apple, como el iPod Touch, el iPhone y el iPad, aunque también podría emparejarse con Mac.

Como marca distintiva con otros relojes inteligentes, contará con sensores y circuitos. Además su interfaz será totalmente táctil, como los últimos dispositivos con Android Wear presentados recientemente.

Temas

Dejá tu comentario