Se vendieron más de 4 millones de iPhone 6 en un día La compañía de la manzana aseguró que batió todos los récords en la preorden de la nueva versión de su popular teléfono inteligente. El viernes sale a la venta en Estados Unidos. iPhone
Así son los nuevos iPhone 6 y iPhone 6 Plus de Apple Los rumores se confirmaron y Apple presentó dos versiones con diferentes tamaños de pantalla, una de ellas de 5.5 pulgadas. Todos los detalles en esta nota. Apple
¿Qué productos presentará Apple? Se habla de, además del iPhone 6, un reloj inteligente que sería el primer producto completamente nuevo desde el lanzamiento del iPad en 2010. Apple
El nuevo campus de Apple, visto desde un dron En el video, que habría sido grabado sin la autorización de la compañía de la manzana, puede verse cómo avanzan las obras de la nueva sede central en Cupertino. Apple
La justicia obligó a Google, Apple y Microsoft a eliminar aplicaciones Secret y Cryptic Se debe a que, algunas, son utilizadas para hacer bullying. Deberán pagar 20 mil reales por cada día que pase cuando no acaten la medida. Icardi
Apple presentaría el iPhone 6 el próximo 9 de septiembre La información fue confirmada por varios medios estadounidenses. Por primera vez, la empresa de la manzana ofrecerá dos teléfonos con tamaños diferentes. Apple
Apple vende cada vez más iPhone y menos iPad El dato se desprende de los resultados relativos al segundo trimestre de 2014 presentado para la compañía, tendencia se vería potenciada con el iPhone 6. Apple
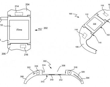
Se filtró un boceto de lo que será el iWatch de Apple El reloj inteligente se dejó ver en un boceto adjunto a un pedido de licencia registrado en Estados Unidos. Su formato sería similar al iPod Nano de sexta generación. Apple
Apple e IBM, dos ex enemigos, se unen para conquistar el mercado empresarial Las compañías prestarán servicios a empresas para poder luchar contra Microsoft, el líder del sector. Crearán apps exclusivas y darán soporte. Apple
El iPhone 6 no existe pero sus falsificaciones ya se pueden conseguir en China Del futuro teléfono de Apple poco se sabe, más allá de las filtraciones que hablan de dos versiones con diferentes tamaños. Pero en Asia ya tiene sus imitaciones. iPhone
El nuevo iPhone tendría una pantalla "casi indestructible" Tendría además el mismo grosor que el de una hoja de papel. Además, sería más grande que los actuales teléfonos y su tamaño aumentaría a 4.7 pulgadas. Apple
Apple pierde un juicio por derechos de Siri Hace años mantenía una disputa legal con Zhizhen por los derechos de propiedad intelectual de su tecnología de reconocimiento de voz. Apple
Apple lanza una versión más barata de su iMac Se trata de la computadora de escritorio de la compañía fundada por Steve Jobs, que ahora arranca con un valor de US$1.099. Apple
El iPad es la tablet más usada para ver pornografía Los creadores del dispositivo de Apple jamás pensaron que su producto se convertiría en la puerta de entrada hacia los confines de la fantasía sexual en la web. iPad
Conocé las novedades en los sistemas operativos de Apple La empresa fundada por Steve Jobs realizó el WWDC, una de sus conferencias más importantes, con importantes anuncios en relación a OS X e iOS. Apple
¿Qué presenta Apple en su clásica conferencia WWDC? Después de la compra de la compañía Beats Electronics por US$3.000 millones, hoy se lleva a cabo una nueva presentación del gigante tecnológico. Apple
Apple lanzará un software para convertir el iPhone en un control remoto Con el nuevo desarrollo, se podrán controlar las luces de la casa, el sistema de seguridad o los electrodomésticos, entre otras cosas. Apple
Google es la marca más valiosa del planeta, tras arrebatarle ese lugar a Apple El listado de las primeras cinco compañías se completa con IBM, Microsoft y McDonald's, de acuerdo al ránking anual Brandz Top 100, elaborado por una consultora. Google
Apple y Google sellan un acuerdo en su lucha por patentes de telefonía Ante la Corte Federal de Apelaciones en Washington, las compañías pidieron que el juicio se cerrase "sin ningún perjuicio para las partes". No obstante, aclararon que no tendrán una "licencia cruzada". Apple
Apple quiere invertir y comprar la compañía de un importante rapero Se trata de una empresa que fabrica auriculares. La adquisición sería anunciada la semana pasada y pagaría US$3.200 millones. Apple
Apple busca evitar que los conductores envíen mensajes de WhatsApp La empresa busca controlar el comportamiento irresponsable. Logró una patente de un sistema que bloquea las aplicaciones de mensajería mientras el usuario está al volante. Apple
Duro revés para Samsung en la batalla legal contra Apple La compañía surcoreana deberá desembolsar 119,6 millones de dólares luego de que un tribunal californiano sostuviera que fueron violadas algunas patentes de iPhone en sus teléfonos inteligentes. Samsung
Apple actualiza su MacBook Air y le baja el precio El cambio está en los procesadores y le agregaron vida útil a las portátiles de 11 y 13 pulgadas. Apple
Google habría prometido financiar a Samsung en su disputa legal con Apple Los abogados de la compañía cofundada por Steve Jobs presentó en los tribunales supuestas pruebas que comprueban el vínculo entre ambas empresas. Dispositivos
Apple recupera la voz de Jobs para presentar su campus De esta forma Apple se suma a la celebración del Día de la Tierra. Durante el video se destaca el compromiso de la compañía de la manzana en el cuidado del medioambiente. Apple
Más de 50 millones de smartphones son vulnerables a ataques Es debido a la falla de seguridad "Heartbleed", descubierta la semana pasada, y afecta a celulares con una versión de Android. Celulares
iPhone 6: preparan dos teléfonos con diferentes medidas de pantalla Ya se empezaron a filtrar rumores en relación al nuevo teléfono de Apple, la compañía fundada por Steve Jobs. Apple
Los próximos iPhone y Ipad podrían ser inmunes a las manchas dactilares Apple podría implementar en sus próximos dispositivos pantallas de cristal de zafiro. Este tipo de paneles pondrían fin al gran problema que tienen las plataformas táctiles. Apple
Microsoft lanzó Office para iPad, disponible desde hoy Las aplicaciones de oficina de la compañía creadora de Windows la presentó en un evento en San Francisco. Saldrá US$6.99 mensual o US$69.99 anual. Microsoft
Usuarios de Android podrán competir contra los de Apple en los videojuegos Con el nuevo soporte multijugador, ya no importa qué dispositivo tengan los fanáticos del los juegos de las plataformas móviles más famosas del mercado. Videojuegos